Jiangsu Xuben PhotoElectric Technology Co., Ltd.
Jiangsu Xuben PhotoElectric Technology Co., Ltd.
Produits
Adaptateur SC / APC SX (sans bride)
  • Adaptateur SC / APC SX (sans bride)Adaptateur SC / APC SX (sans bride)

Adaptateur SC / APC SX (sans bride)

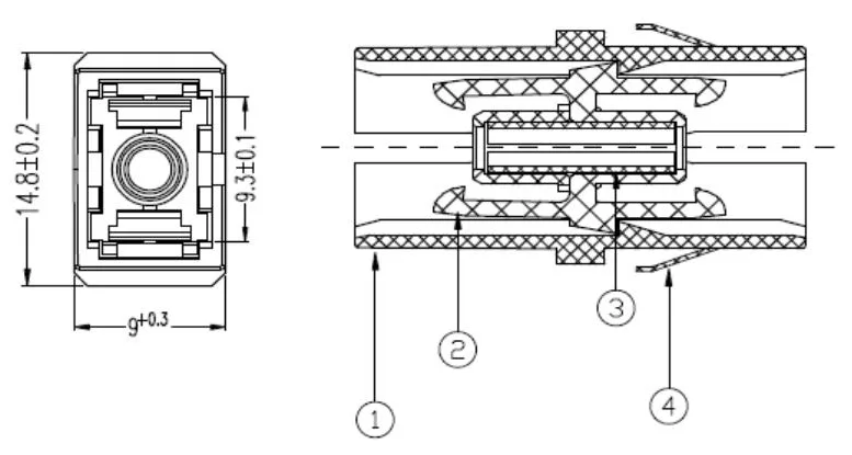
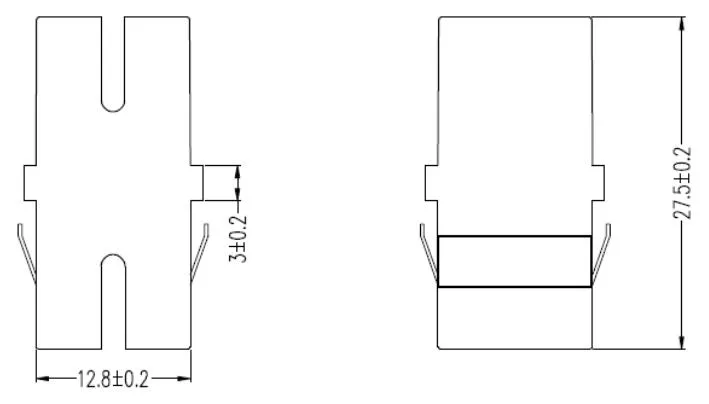
Client PN:1000053203Tour:A.1Approuvé par:C.CDate:07/10/2024Description du produit:L'adaptateur à fibre optique, également appelé coupleur, est un petit appareil conçu pour terminer ou relier les câbles à fibre optique ou les connecteurs à fibre optique ent......
Client PN: 1000053203 Tour: A.1
Approuvé par: C.C Date: 07/10/2024


Description du produit:

L'adaptateur à fibre optique, également appelé coupleur, est un petit appareil conçu pour terminer ou relier les câbles à fibre optique ou les connecteurs à fibre optique entre deux lignes à fibre optique en reliant deux connecteurs précisément, les adaptateurs à fibre optique permettent à la transmission des sources lumineuses au maximum et abaissent la perte le plus possible. Dans le même temps, les adaptateurs à fibre optique ont le bien de la faible perte d'insertion, une bonne interchangeabilité et une reproductibilité.


Application:

● Réseaux de télécommunications

● Réseaux locaux (LAN)

● Système de communication

● Installations de prémisse

● Réseaux à grande région (WAN)

● Transmission vidéo

● Connexions entre les cordes de correctif

● FTTX, CATV

● Connexions entre les appareils

● Compliance Rohs

● corps monobloc


Spécifications de performance:

Paramètre Adaptateur SC / APC
Style corporel Simplex
Mode des fibres de connecteur Mode unique
Couleur Vert
Manche Céramique
Perte ≤0,2 dB
Perte d'alternance ≤0,2 dB
Répétabilité ≤0,2 dB
Durabilité Le changement de 1000 temps d'interpolation est inférieur à 0,2 dB
Dimension du paquet (l) × (w) × (h) 27.5x14.8x9 mm
Températures de travail -40 ~ 85 ° C
Température de stockage -40 ~ 85 ° C


Carte de croquis:

SC/APC SX Adapter (Without Flange) SpecSC/APC SX Adapter (Without Flange) Spec



Balises actives: Adaptateur SC / APC SX (sans bride)
envoyer une demande
Informations de contact
Pour obtenir des demandes de renseignements sur nos produits ou le prix, veuillez nous laisser votre e-mail et nous serons en contact dans les 24 heures.
X
We use cookies to offer you a better browsing experience, analyze site traffic and personalize content. By using this site, you agree to our use of cookies. Privacy Policy
Reject Accept